The GSI Group LLC
WASHER FLAT 1X1.1/2 14GA ZN
WASHER FLAT 1X1.1/2 14GA ZN
Regular price
$0.21 USD
Regular price
Sale price
$0.21 USD
Unit price
per
Shipping calculated at checkout.
Couldn't load pickup availability
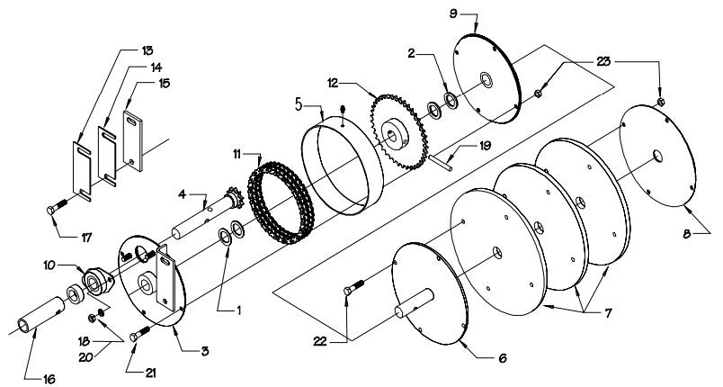
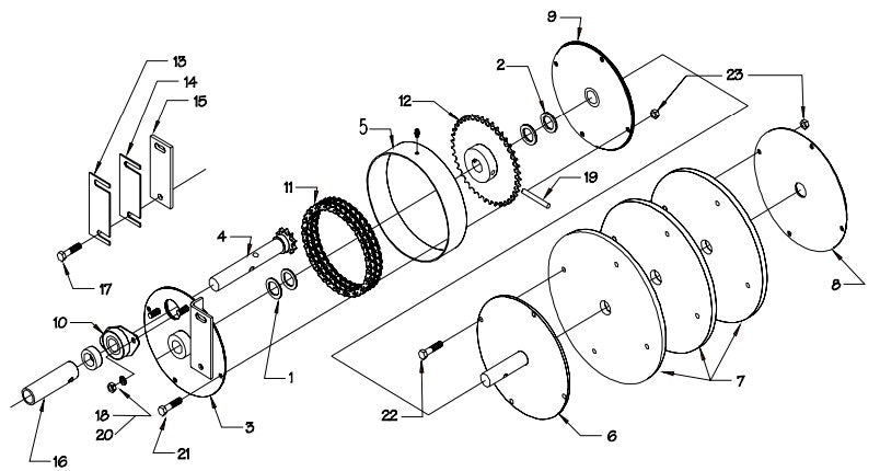
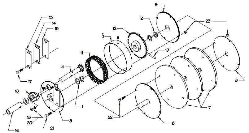
GSI GK4210
#1 on diagram

