The GSI Group LLC
TELESCOPING DROP TUBE, 3.31" I.D. X 6' >
TELESCOPING DROP TUBE, 3.31" I.D. X 6' >
Regular price
$19.50 USD
Regular price
Sale price
$19.50 USD
Unit price
per
Shipping calculated at checkout.
Couldn't load pickup availability
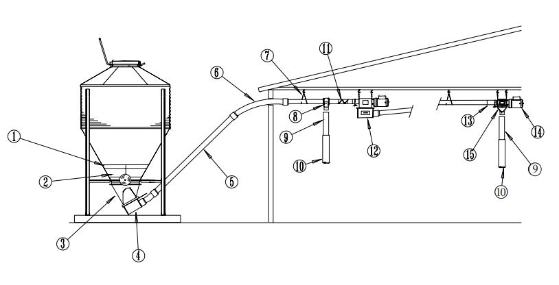
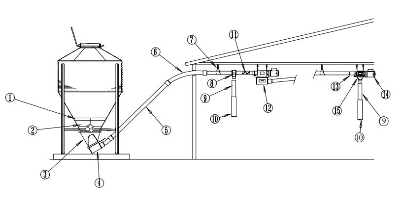
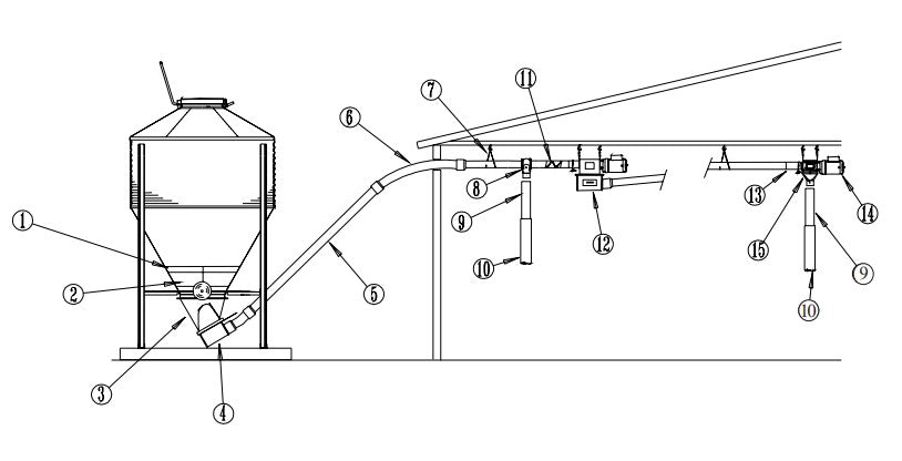
GSI FLX-2426
#10 on diagram
