The GSI Group LLC
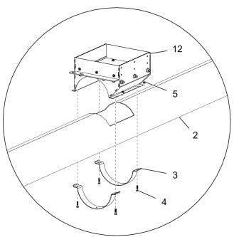
CGD SWP: AUX WELL KIT 8"-12"-2 ROD
CGD SWP: AUX WELL KIT 8"-12"-2 ROD
Regular price
$445.09 USD
Regular price
Sale price
$445.09 USD
Unit price
per
Shipping calculated at checkout.
Couldn't load pickup availability
GSI CAK8122R
